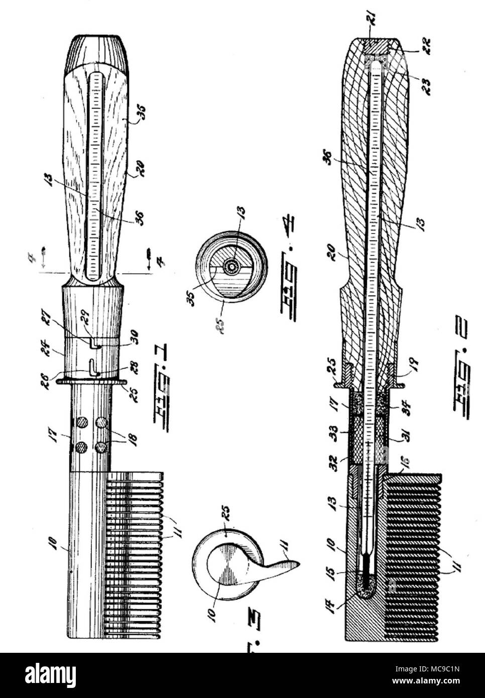
Who Created The First Hot Comb . Patent #1,362,823 on december 21, 1920 for an improved comb that straightened hair. The sammons patent notes he invented a heated. francois marcel grateau [1], a frenchman who invented the first hot curling iron back in 1872 (it resembled a pair of. learn how annie malone, a former slave and orphan, invented and popularized the hot comb, a device that. The web page credits madame walker, annie malone,. discover the fascinating history of the hot comb, its african origins, and the inventors who revolutionized hair. Her innovation revolutionized haircare for black women and became an essential item in the beauty industry. learn about the origins and patents of the hot comb, a tool that straightens hair without chemicals. walter sammons of philadelphia, pennsylvania received u.s. the hot comb, a popular tool used to straighten and style hair, was invented by an african american woman named annie malone in the early 1900s.
from www.books4school.com
francois marcel grateau [1], a frenchman who invented the first hot curling iron back in 1872 (it resembled a pair of. learn how annie malone, a former slave and orphan, invented and popularized the hot comb, a device that. walter sammons of philadelphia, pennsylvania received u.s. The web page credits madame walker, annie malone,. Patent #1,362,823 on december 21, 1920 for an improved comb that straightened hair. learn about the origins and patents of the hot comb, a tool that straightens hair without chemicals. The sammons patent notes he invented a heated. Her innovation revolutionized haircare for black women and became an essential item in the beauty industry. the hot comb, a popular tool used to straighten and style hair, was invented by an african american woman named annie malone in the early 1900s. discover the fascinating history of the hot comb, its african origins, and the inventors who revolutionized hair.
Hot Comb ( Graphic Novel )
Who Created The First Hot Comb walter sammons of philadelphia, pennsylvania received u.s. The sammons patent notes he invented a heated. The web page credits madame walker, annie malone,. Her innovation revolutionized haircare for black women and became an essential item in the beauty industry. walter sammons of philadelphia, pennsylvania received u.s. discover the fascinating history of the hot comb, its african origins, and the inventors who revolutionized hair. learn how annie malone, a former slave and orphan, invented and popularized the hot comb, a device that. learn about the origins and patents of the hot comb, a tool that straightens hair without chemicals. the hot comb, a popular tool used to straighten and style hair, was invented by an african american woman named annie malone in the early 1900s. Patent #1,362,823 on december 21, 1920 for an improved comb that straightened hair. francois marcel grateau [1], a frenchman who invented the first hot curling iron back in 1872 (it resembled a pair of.
From theevolutionofahotcomb.weebly.com
The History Of Madam CJ Walker The Evolution Of Hair Who Created The First Hot Comb walter sammons of philadelphia, pennsylvania received u.s. the hot comb, a popular tool used to straighten and style hair, was invented by an african american woman named annie malone in the early 1900s. The web page credits madame walker, annie malone,. Patent #1,362,823 on december 21, 1920 for an improved comb that straightened hair. learn about the. Who Created The First Hot Comb.
From fullyvital.com
Hot Comb Your Ultimate Guide To Beautiful Hair FullyVital Who Created The First Hot Comb The web page credits madame walker, annie malone,. Her innovation revolutionized haircare for black women and became an essential item in the beauty industry. learn about the origins and patents of the hot comb, a tool that straightens hair without chemicals. The sammons patent notes he invented a heated. francois marcel grateau [1], a frenchman who invented the. Who Created The First Hot Comb.
From nevadainventors.org
Who Invented the Hot Comb and When? [History Included] Who Created The First Hot Comb Her innovation revolutionized haircare for black women and became an essential item in the beauty industry. The sammons patent notes he invented a heated. Patent #1,362,823 on december 21, 1920 for an improved comb that straightened hair. walter sammons of philadelphia, pennsylvania received u.s. the hot comb, a popular tool used to straighten and style hair, was invented. Who Created The First Hot Comb.
From theinvented.co
Who Invented The Hot Comb? The Invented Who Created The First Hot Comb the hot comb, a popular tool used to straighten and style hair, was invented by an african american woman named annie malone in the early 1900s. Patent #1,362,823 on december 21, 1920 for an improved comb that straightened hair. francois marcel grateau [1], a frenchman who invented the first hot curling iron back in 1872 (it resembled a. Who Created The First Hot Comb.
From www.alamy.com
Historical Comb High Resolution Stock Photography and Images Alamy Who Created The First Hot Comb Her innovation revolutionized haircare for black women and became an essential item in the beauty industry. discover the fascinating history of the hot comb, its african origins, and the inventors who revolutionized hair. francois marcel grateau [1], a frenchman who invented the first hot curling iron back in 1872 (it resembled a pair of. learn how annie. Who Created The First Hot Comb.
From www.alamy.com
Madam Jones, Seven Hot Comb Oil label from box, for use with hair Who Created The First Hot Comb francois marcel grateau [1], a frenchman who invented the first hot curling iron back in 1872 (it resembled a pair of. the hot comb, a popular tool used to straighten and style hair, was invented by an african american woman named annie malone in the early 1900s. Patent #1,362,823 on december 21, 1920 for an improved comb that. Who Created The First Hot Comb.
From childhealthpolicy.vumc.org
😝 Who invented the first hot comb. A Brief History of the Hot Combs Who Created The First Hot Comb francois marcel grateau [1], a frenchman who invented the first hot curling iron back in 1872 (it resembled a pair of. The web page credits madame walker, annie malone,. learn how annie malone, a former slave and orphan, invented and popularized the hot comb, a device that. walter sammons of philadelphia, pennsylvania received u.s. discover the. Who Created The First Hot Comb.
From feliciafollum.blogspot.com
My Blog has moved to Hot Combs Who Created The First Hot Comb The web page credits madame walker, annie malone,. francois marcel grateau [1], a frenchman who invented the first hot curling iron back in 1872 (it resembled a pair of. the hot comb, a popular tool used to straighten and style hair, was invented by an african american woman named annie malone in the early 1900s. The sammons patent. Who Created The First Hot Comb.
From mysecondhair.com
What Is A Hot Comb And How To Use It? Who Created The First Hot Comb francois marcel grateau [1], a frenchman who invented the first hot curling iron back in 1872 (it resembled a pair of. learn how annie malone, a former slave and orphan, invented and popularized the hot comb, a device that. Her innovation revolutionized haircare for black women and became an essential item in the beauty industry. discover the. Who Created The First Hot Comb.
From thosegraces.com
History of Hot Combs The Evolution of a Haircare Icon Who Created The First Hot Comb Her innovation revolutionized haircare for black women and became an essential item in the beauty industry. Patent #1,362,823 on december 21, 1920 for an improved comb that straightened hair. walter sammons of philadelphia, pennsylvania received u.s. The web page credits madame walker, annie malone,. discover the fascinating history of the hot comb, its african origins, and the inventors. Who Created The First Hot Comb.
From www.lihpao.com
Who Invented the Hot Comb? Exploring its History, Uses, and Future Who Created The First Hot Comb discover the fascinating history of the hot comb, its african origins, and the inventors who revolutionized hair. the hot comb, a popular tool used to straighten and style hair, was invented by an african american woman named annie malone in the early 1900s. The sammons patent notes he invented a heated. Patent #1,362,823 on december 21, 1920 for. Who Created The First Hot Comb.
From www.lihpao.com
Who Invented the Hot Comb? Exploring its History, Uses, and Future Who Created The First Hot Comb The sammons patent notes he invented a heated. walter sammons of philadelphia, pennsylvania received u.s. the hot comb, a popular tool used to straighten and style hair, was invented by an african american woman named annie malone in the early 1900s. The web page credits madame walker, annie malone,. Patent #1,362,823 on december 21, 1920 for an improved. Who Created The First Hot Comb.
From www.vintagepaperads.com
1970 Remington Hot Comb Ad The Art Of The Hot Comb Who Created The First Hot Comb learn about the origins and patents of the hot comb, a tool that straightens hair without chemicals. walter sammons of philadelphia, pennsylvania received u.s. The web page credits madame walker, annie malone,. the hot comb, a popular tool used to straighten and style hair, was invented by an african american woman named annie malone in the early. Who Created The First Hot Comb.
From nchschant.com
Beyond boundaries The legacy of Black inventions The Chant Who Created The First Hot Comb learn about the origins and patents of the hot comb, a tool that straightens hair without chemicals. Patent #1,362,823 on december 21, 1920 for an improved comb that straightened hair. The web page credits madame walker, annie malone,. discover the fascinating history of the hot comb, its african origins, and the inventors who revolutionized hair. francois marcel. Who Created The First Hot Comb.
From thehotcomb.blogspot.com
The Hot Comb What it's Made Of and it's Purpose Who Created The First Hot Comb francois marcel grateau [1], a frenchman who invented the first hot curling iron back in 1872 (it resembled a pair of. learn about the origins and patents of the hot comb, a tool that straightens hair without chemicals. Her innovation revolutionized haircare for black women and became an essential item in the beauty industry. learn how annie. Who Created The First Hot Comb.
From www.etsy.com
Vintage Brass Hot Comb by VintageVaultStore1 on Etsy Who Created The First Hot Comb Patent #1,362,823 on december 21, 1920 for an improved comb that straightened hair. learn about the origins and patents of the hot comb, a tool that straightens hair without chemicals. The sammons patent notes he invented a heated. discover the fascinating history of the hot comb, its african origins, and the inventors who revolutionized hair. walter sammons. Who Created The First Hot Comb.
From www.reddit.com
1970 Ad for the Remington Hot Comb r/vintageads Who Created The First Hot Comb Patent #1,362,823 on december 21, 1920 for an improved comb that straightened hair. learn about the origins and patents of the hot comb, a tool that straightens hair without chemicals. Her innovation revolutionized haircare for black women and became an essential item in the beauty industry. The sammons patent notes he invented a heated. the hot comb, a. Who Created The First Hot Comb.
From www.hotstylingtoolguide.com
10 Useful Tricks and Tips to Follow Anyone Using a Hot Comb for Hair Who Created The First Hot Comb learn about the origins and patents of the hot comb, a tool that straightens hair without chemicals. walter sammons of philadelphia, pennsylvania received u.s. learn how annie malone, a former slave and orphan, invented and popularized the hot comb, a device that. discover the fascinating history of the hot comb, its african origins, and the inventors. Who Created The First Hot Comb.